тел.: (044) 351-13-41  (044) 351-13-40  (067) 407-16-39  (067) 242-85-12

на главную
Инструмент диагностика оборудование акции новости спец amtool контакты
Оборудование  /   Оборудование и специнструмент ремонта двигателя
  • Оборудование


Кран для снятия двигателя гидравлический 1000 кг

цена (с НДС):
0.00
CC 10

Кран для снятия двигателя гидравлический 1000 кг

Вот уже более 67 лет Compac производит высококачественные гидравлические изделия. Гланой целью опытного инженерного персонала Compac является обеспечение отличного качества с упором на качество производимой продукции.

3 года заводской гарантии
Compac установил стандарт в отрасли, став первым производителем, предлагающим полную 3-летнюю гарантию. Ни один другой производитель не дает более длительную гарантию. Причиной, по которой надежность Compac стала стандартом в отрасли, является уникальная комбинация отличных исходных материалов, ориентированного на качество, персонала, уникальной японской системы управления качеством.

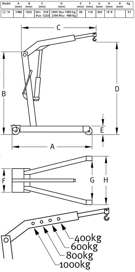
Техничекские параметры и габариты СС 10:

 

Конструктивные особенности:

  • Мобильная складная конструкция;
  • Удобная шарнирная рукоятка привода насоса;
  • Имеется клапан-ограничитель нагрузки;
  • Надежный и безопасный гидравлический контур;
  • Оснащен системой блокировки "deadman control" механизма опускания груза;
  • Четыре возможных положения стрелы: 350, 375, 425 и 550 кг;
  • Низкий клиренс опоры в 88 мм обеспечивает доступ под низкое транспортное средство;
  • Высококачественная порошковая окраска.

 

Compac, Дания

 

ВЫБРАНО ПОЗИЦИЙ: просмотреть
amtool © 2006
все права защищены.
АМТУЛ - Киев ул. Пшеничная 2-В
(044)351-1341, (067)407-1639
(044)351-1340, (067)242-8512
Создание сайта —
ABC.NET.UA